欢迎访问Xiaoog 小(O)光伏门窗 光伏玻璃
语言选择: ∷ 

​铝合金门窗的选择-----型材篇

发布时间:2018-04-12浏览次数:698

铝合金门窗的选择-----型材篇


图片


 
1、门窗型材的发展
 
1)、木窗
90年代之前的房屋主要使用木头作为制作门窗的材料,我们称为“古早年代”。
 
木头制作门窗的历史可以追溯到先秦。2000多年来,一直换汤不换药。
 

图片


木头取材,加工容易,基本依靠木工手艺活。很多木材都可以成为制作门窗之选,但门窗的耐用性又与材料息息相关,同时也与气候关系密切。目前我国保存最好的古建在山西,时间可以追溯到唐代。干燥气候利于木制品保存,有些距今5000年前的古埃及时期木雕,其上的彩绘都保存的光洁如新。
 

图片


但木头很容易变形,特别是作为窗户,长期开窗可能会导致窗户都关不上,更不要说密闭性。记得90年代我还小的时候,遇到夏天大雨,几乎没有哪一户人窗户下面不会渗水的。
 
2)、铁窗
不是《铁窗泪》的铁窗,而是为了解决木窗的各种问题,最简单的方式是将木头改成金属。所以钢窗就应运而生。相信稍微年长点的朋友还能记得,学校教室、少年宫那种铁制门窗。我一度认为可能是因为熊孩子弄坏木制门窗上钩锁撘链的频率太高,所以学校索性换上更耐操的钢窗。
 
钢窗同样没有什么密封性可言,基本就是木制的增强耐操版。
 
3)、铝合金门窗
90年代出现了铝合金的滑动窗户,那时候大部分有5米大阳台的“富裕人家”都会选择封窗,铝合金滑动门窗几乎是唯一选择。
 
但这时的铝合金和现在的断桥铝合金门窗完全是两个概念,但在生产和装配方式上却与现在断桥铝合金门窗几乎一致,同样是门窗厂家从型材厂家订购符合尺寸的型材,同样是在现场进行安装。区别最大的概念是这时的铝合金门窗没有统一国家标准,没有断桥、中空玻璃,以及系统门窗的概念。相比比前面的木、钢门窗的优点更多是在密封性和耐用性上,并不具备今天隔热、隔音等更多功能。
 
4)、塑钢门窗
塑钢门窗的出现,一度让人以为铝合金门窗会完败。塑钢采用的型材是UPVC聚氯乙烯。相比当时的铝合金门窗优点颇多,比如隔热性、气密性,都比当时铝合金门窗要好。但UPVC的机械性能不如铝材,而且虽然不易燃烧,但一旦引燃后会释放很多有害气体,可以说是毁誉参半。随着断桥铝合金门窗的出现,塑钢门窗现在主要是一些廉价装修方案或者活动板房等还在使用。

图片



5)、断桥铝合金门窗
目前民用的门窗当中,唯一最优的选择就是断桥铝合金门窗。特点是采用隔热断桥铝型材和中空玻璃。有很好的隔热、保温、隔音性能,最近20多年一直在发展提升当中。

图片


 

2、认识铝材
我们这一期主要讲解一下断桥铝合金门窗,这种门窗型材上最主要的是化学元素是铝。学过化学的都知道铝是一种金属元素,元素符号为Al,原子序数为13,熔点熔点660℃,密度2.7 g/cm³。在金属中属于轻金属,常被用在航空航天领域。
 
1)、制作门窗的6063铝材
在国家标准GB/T3190中规定的6063铝合金成分范围,6063铝是指铝-镁-硅构成的合金,其中制作门窗的主要为T5铝材,也有一些使用T6铝材。T5与T6相比较成份中镁的占比不一样,另外冷却方式上T5使用自然冷却,T6使用人工水冷,因此造成了T5、T6铝材不同的机械性能。
 
 
2)、谁能生产6063铝
首先认识一下几家铝材大厂
a、中铝:中国铝业集团有限公司,不必多说,装个窗户你能用上中铝的铝材,那真是活久见。这种大型央企,都是给大型工程等提供铝材的,不会赚门窗这等小钱。当然他们也给大的铝材厂供应铝锭。
b、亚铝:肇庆亚洲铝厂有限公司(AAG亚铝),亚铝生产门窗铝材。
c、凤铝:广东凤铝铝业有限公司,主要做建筑和工业铝材,市面上叫凤铝的较多。
d、兴发:广东兴发铝业有限公司,主要从事建筑、工业用铝,市面上叫兴发的也很多。
e、南山:山东南山铝业股份有限公司,南山的主要产业里并不包含门窗铝材。
 
此外,一搜百度会出现很多什么中国十大铝业,其实很多都是各种民间行业协会给发的奖状,有些甚至是花钱就可以购买的。消费者一定要擦亮眼睛。

3、铝合金门窗的生产安装流程
要了解生产流程,就要了解你家要装的铝合金门窗经过了几个生产环节,
1)、加工成铝棒
一般从冶炼开始,电解铝生产出了铝锭,会送往各大铝材厂加工成铝棒。

2)、从铝棒到型材
第二步就是把铝棒加工成各种门窗需要的型材,这些型材有不同的型材厚度、壁厚,嵌入隔热条,这一系列工作都是各大铝材厂来完成。

3)、从型材到半成品
这一步就是你定门窗的厂家来完成的,他们收到铝材厂的型材和玻璃厂的玻璃,以及采购的五金件后进行装配。到这一步就不存在什么大型工业化生产了,基本都是人工+机器的方式进行生产,所以你家的窗户成品质量如何,其实很考验师傅的经验和手艺。

4)、现场安装
门窗厂加工完成半成品后就需要拉到安装地点进行最后的安装调试,一般流程是窗框就位→框固定→填塞缝隙→安五金配件→安装玻璃→打胶、清理。同样,你家的成品质量跟师傅手艺息息相关。

图片


 
4、分辨型材
敲黑板,本期的重点来了。
1)、三项指标基本
型材通常有三个指标:
铝材种类:6063-T5,6063-T6等,前面已经说过,T5和T6的区别,注意不要为了T6的智商税买单。

型材宽度:如85、90、110、113、115、120等,指的是窗户整个铝合金框架的厚度,你可以简单理解为金属框架有多粗。

图片



壁厚:如1.2、1.4、1.6、1.8等,指的是型材切面最后的地方的铝材厚度,这里要特别注意,因为切面会有很多中空腔室,一般腔室隔断的材质是较薄的,所以整个切面最后的壁厚与标号的厚度一致即可。此外,国家标准种允许了0.2mm的误差存在,所以给你说1.8mm的型材壁厚,也可能实际测量只有1.6mm。
 

图片


Tips:目前国标允许了0.2mm的误差,也就是说你买1.8mm壁厚的型材,可能游标卡尺测量出来只有1.6mm


2)、如何判定型材优劣
判定型材优劣,一定是在同样型材的下进行的,比如都是6063-T5。那么就需要综合来看三个东西,分别是型材宽度、壁厚和腔体结构。比如120宽度的,1.6mm肯定比同样宽度的1.2mm要坚固;但是110厚度,1.4mm的未必不如120厚度,1.2mm的。而且这还是没有考虑腔体结构的情况下。
 
 

图片




3)、腔体结构
这是我发现大家最容易忽略的一个问题,因为型材种类、宽度和厚度用简单的数字就可以分辨。但是腔体结构需要能辩识剖面结构。然而这却又是重点中的重点,也是厂商容易作奸犯科,偷奸耍滑的地方。
 

图片



 
我们先看简单的图,因为铝合金被这个塑料的隔热桥断开,所以叫断桥铝合金。按照国家标准们应该使用PA66工程塑料。塑料的导热系数没有金属大,所以具有更好的隔热性。
 

图片



隔热桥的宽度、用料,以及是否加入了隔热棉等材料,影响了整个断桥铝部分的隔热性。在上图中,可以看出纵横方向都有隔热桥。

图片

 


而这一副图中的断桥铝不光使用了隔热桥,还在铝材中空处填充了保温隔热棉,以达到更好的隔热效果。
 

图片


 
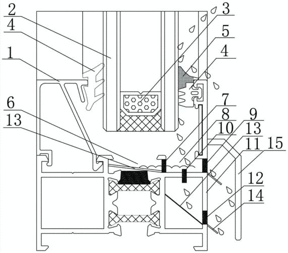
我们再来看门窗剖面的防雨性能是如何体现的,在上图中,左边的腔体为室内,右侧为室外,中间竖直部分是玻璃。当外面有雨水打在窗户上时间,会沿着外侧的排水通道被排走,而不会侵入到内侧。

图片

最后,是断桥铝合金门窗还应该具有的气密性,也就是所谓的密封。我们看上图中,在玻璃和腔体结构中都安装密封条,这些密封条来完成整个门窗的气密性。

关于密封条的分辨和选择,我们将在后面专门进行讲解。
 
各位朋友在选购断桥铝合金门窗时,对于腔体结构的辨认一定要明白隔热桥的隔热性能,整个门窗结构上的排水性能,还有整个门窗的密封性能,这三点是衡量门窗腔体结构的关键。
 
总结
户外门窗是装修当中很重要的一个环节,好的门窗可以在闹市中提供静谧的居住条件,也可以帮助屋内拥有更舒适的居住温度。在装修中,我认为门窗是一个不应该太过节省的环节,否则可能后患无穷。

识别型材和结构只是选好门窗的第一步,我们下一次带来门窗玻璃的相关内容,敬请期待。


微信扫码微信扫码 关注我们

  • 24小时咨询热线dengpeng@guangls.com

  • 移动电话WhatsApp(086)13138863335

Copyright © 2024Xiaoog 小(O)光伏门窗 光伏玻璃All Rights Reserved. 地址:深圳市龙岗区南湾街道下李朗社区布澜路78号派成铝业厂房B栋201 粤ICP备18032784号-2 XML地图 网站模板